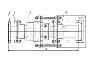
F(FY)型壓蓋式壓力平衡型補償接頭能夠實現管道的軸向位移的補償,并且通過自身的彈性結構平衡軸向推力,從而節省了支架的安裝,節省了大量的工程費用,特別適用于高空的安裝。F(FY)型壓蓋式壓力平衡型補償接頭是由松套伸縮接頭和兩個限位短管組合而成。F(FY)型壓蓋式壓力平衡型補償接頭能防止管道因超量位移導致補償接頭的泄漏和損壞,壓蓋限位伸縮接頭主要用于在允許位移范圍內吸收軸向位移和承受軸向壓力推力的管道松套連接。
【產品名稱】:F(FY)型壓蓋式壓力平衡型補償接頭(FY壓蓋式壓力平衡型補償接頭)
【產品別名】:壓蓋式壓力平衡型補償接頭 壓蓋式平衡型補償接頭
【產品規格】:【DN100mm-DN1200mm】
【產品壓力】:0.6-1.6MPa
【產品】:
【適用范圍】:【弱酸、弱堿、弱腐蝕類、油、熱水、冷水等】
【產品材質】:碳鋼,球墨鑄鐵,不銹鋼.
【產品顏色】:藍色,可根據客戶要求調色.
【工作溫度】:-40度至80度
在線咨詢
購買熱線: 021-622-00727
軸向伸縮接頭本身無法承受介質內壓產生的盲板力,所以必須考慮管路的固定,即支架。除了必要的固定與支撐外,支架注意承受的是熱脹冷縮和介質內部壓力所產生的推力,特別是管路拐彎及三通、四通的位置,支架的造價非常高。為了降低支架的造價,壓縮工程造價又能滿足使用要求,主要用于在吸收軸向位移的同時能平衡內壓推力的補償接頭。
壓蓋限位伸縮接頭兩邊均與管道焊接,壓蓋限位伸縮接頭在安裝時松開壓蓋螺母,調整至安裝長度后把兩端的短管與管道焊接,很后用對角法均勻擰緊螺母,調整好防脫螺母即可。
1實現管道的軸向位移補償。
2高空安裝節省了大量的支架費用,運行穩定。
3使用壽命長,方便了以后的維護與保養。
4能夠消除管道的軸向推力。
記者從市發改委獲悉,省發改委日前核準了中捷通用機場項目。預計今年上半年開工建設。
此項目為一類通用機場,飛行區等級為2B標準,主要建設內容為:飛行區工程(包括跑道、站坪、防吹坪、航站樓空側硬化、標記牌、圍界、飛行區排水和站坪消防);空管工程(包括航管、氣象設施);航站區工程(包括綜合樓、動力中心、油車庫,航站區道路及綠化,配套建設場內供電、供(冷)熱、供水、排污、通信、安防監控等設施)。項目估算總投資為8226.3萬元。
此次合作上海駱盈將作為該項目的主要的管道伸縮接頭供應商的角色出現在人們的視野中,上海駱盈將竭盡全力,生產出很優的伸縮接頭,確保管道的長久安穩的運行,以實際行動堅信自己的諾言。
此項目的實施將為中捷產業園區及輻射區域內現代農業飛防飛播、產業飛行器制造與試飛等提供基礎保障,有利于通航相關產業的聚集和壯大,促進區域經濟良好發展。

請點擊圖片看大圖
請點擊圖片看大圖
| 公稱通徑Norminal Diameter DN | 外型尺寸Overall Dimension | 伸縮量Compensation-lengthδ | 法蘭連接尺寸Flange connecting dimension | |||||||||
| 0.6Mpa | 1.0Mpa | 1.6Mpa | ||||||||||
| Do | L | D | K | n-do | D | K | n-do | D | K | n-do | ||
| 100 | 350 | 1050 |
±70 |
210 | 170 | 4-Ф18 | 220 | 180 | 8-Ф18 | 220 | 180 | 8-Ф18 |
| 150 | 400 | 265 | 225 | 8-Ф18 | 285 | 240 | 8-Ф22 | 285 | 240 | 8-Ф22 | ||
| 200 | 475 | 1200 | 320 | 280 | 340 | 295 | 340 | 295 | 12-Ф22 | |||
| 250 | 540 | 375 | 335 | 12-Ф18 | 395 | 350 | 12-Ф22 | 405 | 355 | 12-Ф26 | ||
| 300 | 620 | 1350 | 440 | 395 | 12-Ф22 | 445 | 400 | 460 | 410 | |||
| 350 | 680 | 1400 | 490 | 445 | 12-Ф22 | 505 | 460 | 16-Ф22 | 520 | 470 | 16-Ф26 | |
| 400 | 770 | 1450 | 540 | 495 | 16-Ф22 | 565 | 515 | 16-Ф26 | 580 | 525 | 16-Ф30 | |
| 450 | 860 | 1500 | ±80 | 595 | 550 | 16-Ф22 | 615 | 565 | 20-Ф26 | 640 | 585 | 20-Ф30 |
| 500 | 920 | 645 | 600 | 20-Ф22 | 670 | 620 | 20-Ф26 | 715 | 650 | 20-Ф33 | ||
| 600 | 1050 | 1550 | 755 | 705 | 20-Ф26 | 780 | 725 | 20-Ф30 | 840 | 770 | 20-Ф36 | |
| 700 | 1200 | 1600 | 860 | 810 | 24-Ф26 | 895 | 840 | 24-Ф30 | 910 | 840 | 24-Ф36 | |
| 800 | 1360 | 1800 | 975 | 920 | 24-Ф30 |
1015 | 950 | 24-Ф33 | 1025 | 950 | 24-Ф39 | |
| 900 | 1520 | 1900 | 1075 | 1020 | 1115 | 1050 | 28-Ф33 | 1125 | 1050 | 28-Ф39 | ||
| 1000 | 1640 | 2000 | 1175 | 1120 | 28-Ф30 | 1230 | 1160 | 28-Ф36 | 1255 | 1170 | 28-Ф42 | |
| 1200 | 1950 | 2200 | 1405 | 1340 | 32-Ф33 | 1455 | 1380 | 32-Ф39 | 1485 | 1390 | 32-Ф48 | |
專業制造、專業服務,駱盈為你創造更多價值 !
不斷提升服務質量,精益求精,“真誠的服務”是駱盈永恒的主題。駱盈嚴格按照 要求,質量嚴格把關,責任到人,確保生產、銷售、服務的健康運行。加強與用戶溝通,竭誠為廣大客戶提供優質產品,至善至美服務,特此駱盈做出如下承諾:
產品標準
產品嚴格按照中國 GB、HG 標準和美國 API 等標準設計、制造、驗收。密封面硬度達到規定要求,寬度超過標準。
售前服務
產品介紹,技術交流,非標產品設計,疑難解答。
售中服務
1、守信合同,保證及時供貨,隨時保持與客戶聯系
2、對特殊或復雜的產品,我廠安排技術人員對用戶進行產品使用、故障排除、調式及維修進行培訓和指導。
售后服務
1、駱盈產品質保期為自出廠起 12 個月,實行“三包”服務(包退、包換、包修)。
2、產品在使用中我廠定期組織技術、檢查人員進行訪問,征詢用戶對產品質量、使用狀況、改進意見等方面的反饋,以便進一步提高產品質量。
3、對用戶投訴產品質量問題,快速做出反映,售后服務人員在 24-36 小時(省外 48 小時)趕赴現場。
4、對售后服務,要求用戶填寫服務后的質量反饋表,并做出鑒定意見,共同提高駱盈的產品質量與服務質量。
1、客戶采購清單請傳真至 021-64207088 E-mail:luoying@luoyingsh.com,或來電咨詢 021-62212627。
2、收到客戶采購清單,為客戶提供產品型號選型與報價(價格清單)。
3、具體商定:交貨期、特殊要求等事宜。
訂貨須知
1、客戶對產品有特殊要求,須在訂貨合同中提供以下說明:
(1)結構長度
(2)連接形式
(3)公稱直徑、全通徑、縮徑、管道尺寸
(4)用介質及溫度、壓力范圍
(5)實驗、檢驗標準及其他要求本廠可根據客戶特殊要求配置定做和設計特殊產品。
2、本廠可根據客戶特殊要求配置定做和設計特殊產品。
3、如由客戶提供確定的產品類型和型號時,客戶應正確說明其型號的含義和要求,在供需雙方理解一致的條件下簽訂合同。
您也可以聯系在線客服